最佳体验请使用Chrome67及以上版本、火狐、Edge、Safari浏览器 ×

创建银行
创建开票

    上海13年封测老厂上海翔芯集成电路有限公司破产

    编者: 武花静@芯闻道 阅读623 来源: 国际电子商情 2025/08/19 10:48:08 文章 外链 公开

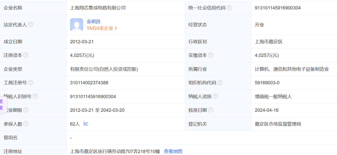
    曾被誉为华东地区电源管理芯片封装核心力量的上海翔芯集成电路有限公司,于8月14日向上海市第三中级人民法院提交破产申请(案号:2025沪03破申883号),标志着这家成立14年的本土封测企业正式退出市场。

    根据全国企业破产重整案件信息网公示信息,翔芯因资金链断裂及市场压力被迫启动司法破产程序,涉及员工62人,其名下部分设备已抵押,抵押总额达400万元。

    企业背景

    上海翔芯成立于2012年3月21日,注册地位于上海市嘉定区徐行镇,注册资本4025万元(实缴),法定代表人金明良。公司专注于集成电路封装测试及测试软件开发,拥有SOP、SOT等成熟封装工艺链,涵盖减薄、划片、焊线、塑封等完整流程,总投资达6000万元,构建起专业代工厂运营体系。截至2025年5月,翔芯累计获得35项专利,并被认定为“高新技术企业”及“专精特新中小企业”。

    破产原因 

    2020年12月,翔芯曾通过动产抵押向永赢金融租赁有限公司融资200万元,累计抵押总额达400万元,凸显其资金链危机。

    据工商信息显示,翔芯自2024年起陷入经营困境。当年4月,公司尝试通过股权重组引入新资本(新增股东上海葳翔电子科技合伙企业),但未能缓解资金压力。此后,企业卷入多起买卖合同纠纷,最近一次开庭时间为2025年7月21日。

    行业分析指出,翔芯的破产源于两方面压力:

    1.客户订单萎缩:公司客户结构集中,依赖消费电子、工业控制等领域订单。2023年全球半导体市场下行,存储芯片价格暴跌,需求疲软导致翔芯营收下滑。

    2.技术迭代滞后:尽管拥有成熟封装工艺,但翔芯未能跟上先进制程(如SiC、GaN)的技术升级趋势,在AI服务器、新能源汽车等新兴领域缺乏竞争力。

    行业影响与反思

    作为长三角地区2025年第7家倒下的传统封测厂,翔芯的破产折射出本土半导体企业的结构性挑战。首先是技术路线单一性,依赖SOP、SOT等传统封装工艺,未能拓展高附加值领域(如先进封装、汽车电子)。其次资金链脆弱性,中小封测厂在资本密集型行业中抗风险能力弱,2023年全球半导体融资收紧进一步挤压生存空间。

    尽管获评“专精特新”,但翔芯未能有效利用政策红利,反因股权纠纷和抵押债务陷入恶性循环。

    目前,上海市第三中级人民法院已受理破产申请,管理人正梳理资产与债务。翔芯名下8万平方米工业用地及3万平方米厂房或通过“出售式重整”盘活,类似M生物芯片公司案例中,核心资产可能由同行业企业接手,以最大化债权人利益。员工安置方面,企业拖欠的900余万元工资已通过预付租金清偿,但62名员工的再就业问题仍待解决。


    声明:本网站部分内容来源于网络,版权归原权利人所有,其观点不代表本网站立场;本网站视频或图片制作权归当前商户及其作者,涉及未经授权的制作均须标记“样稿”。如内容侵犯了您相关权利,请及时联系责任编辑(原厂)
    李明骏
    @芯之元 ,版权号:B000040267141
    成员
    • 成交数 --
    • 成交额 --
    • 应答率
    聊天 收藏 点赞
    赏
    ¥1.00¥5.00¥10.00¥50.00¥100.00
     0  0
    
    
    分享

    微信扫一扫:分享

    微信里点“+”,扫一扫二维码

    便可将本文分享至朋友圈。

        0
      推荐商品
      验证
      二维码支付